日志
操作说明
登录,进入控制台->CDN->日志下载

选择需要查询的时间、域名,点击查询,下载所需的日志数据。

注意事项:
(1)日志默认保留时间为 30 天;
(2)日志生成大概延迟 6 小时;
(3)备选域名列表最多只展示 100 个,其余域名可通过前缀搜索;
(4)日志大概延迟6小时,举例:1月18日0点-1点的日志,会在1月18日8点-10点左右可下载。
(5)日志文件默认按小时下载,如果单小时内日志过大会进行切分(分片大小128MB),日志文件采用gzip压缩。
日志字段说明
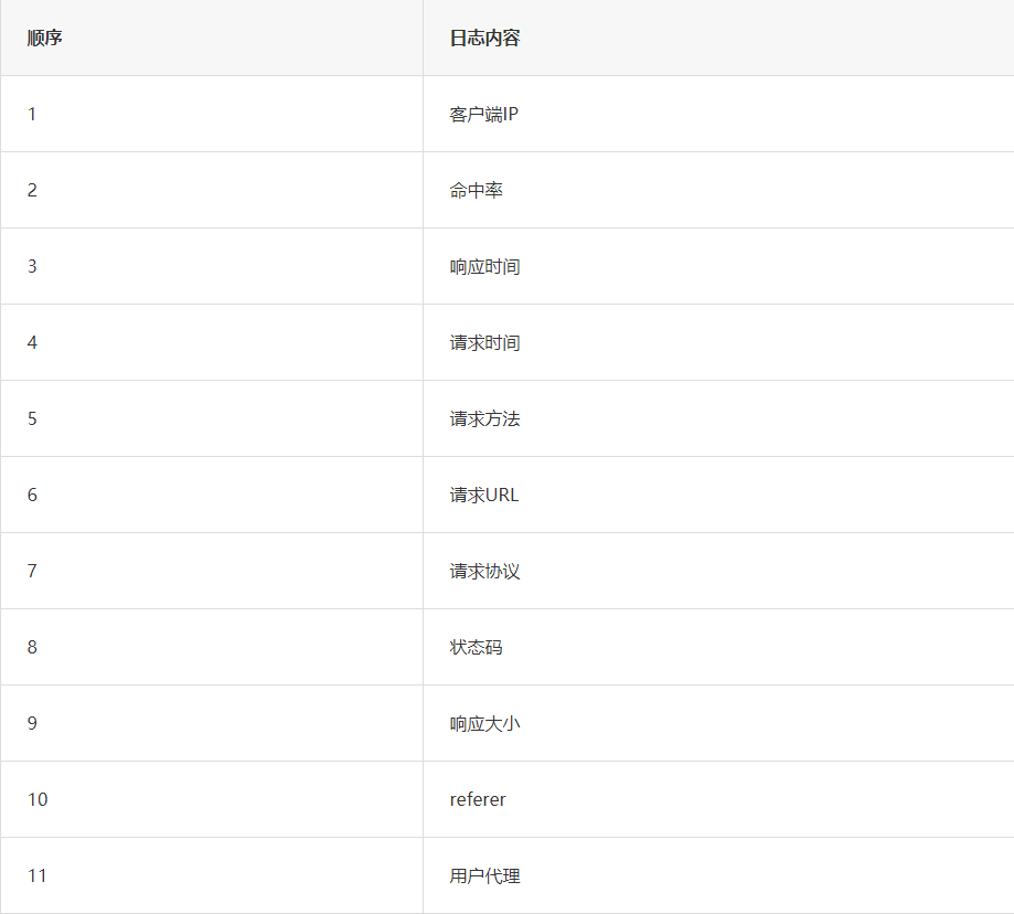
将下载好的日志数据包解压,以文本方式查看日志文件,可以看到各字段信息以空格隔开。部分信息如下图所示。

日志中对应的字段顺序及含义如下所示:
