| 日志 |
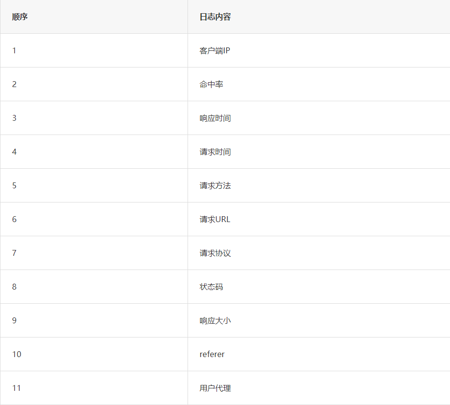
操作说明登录,进入控制台->CDN->日志下载 ![]() 选择需要查询的时间、域名,点击查询,下载所需的日志数据。 ![]() 注意事项: (1)日志默认保留时间为 30 天; (2)日志生成大概延迟 6 小时; (3)备选域名列表最多只展示 100 个,其余域名可通过前缀搜索; (4)日志大概延迟6小时,举例:1月18日0点-1点的日志,会在1月18日8点-10点左右可下载。 (5)日志文件默认按小时下载,如果单小时内日志过大会进行切分(分片大小128MB),日志文件采用gzip压缩。 日志字段说明 将下载好的日志数据包解压,以文本方式查看日志文件,可以看到各字段信息以空格隔开。部分信息如下图所示。 ![]() 日志中对应的字段顺序及含义如下所示: ![]() |



